Large Digital Linear Scale

According to the customer’s requirements, we can customize Digital linear scale ranging
0-1000mm,0-2000mm and 0-3000mm.

Based on the different requirements of machine tool digital displays and the inspection or calibration of other length measuring tools, we have developed various forms of digital linear scales as follows.

Type–A, Large Digital Linear Scale
Type–B, Large Digital Linear Scale with Magnifier and additional detection accessories
Type–C, Large Digital Linear Scale with Magnifier with Crosshairs.

Type-A is used to accurately display the movement of machine tools or equipment in digital form, while Type-B and Type-C are used for detecting or calibrating length scales, overlay layers, and rulers.

Digital Linear Scale 0-1500mm / 60”, Type-A 8-2
Type-A: Digital Linear Scale 0-1500mm / 60”

Type-A: Large Digital Linear Scale

  • It allows the movement of machine tools or devices to be displayed digitally, with measurement results quickly and stably shown, improving work efficiency.
  • It provides precise length readings, eliminating the reading errors associated with traditional rulers.
Large Digital Linear Scale 0-1500mm / 60” work site
Large Digital Linear Scale 0-1500mm / 60” work site
Large Digital Linear Scale with magnifying glass 0-2000mm / 80“, Type-B
Type-B: Large Digital Linear Scale with magnifying glass 0-2000mm / 80“, 0.01mm /.0005”

Type-B:Large Digital Linear Scale with Magnifier and additional detection accessories

  • The additional detection accessories can be used to inspect and calibrate the accuracy of the digital linear scale itself.
  • High Accuracy Digital Display: Provides instant and precise readings.
  • Integrated Magnifier with crosshairs: Enhances visibility and reliability for inspection tasks.
  • Measurement Range: Supports up to 0-1000mm, 0-2000mm and 0-3000mm.
Large Digital Linear Scale with magnifying glass 0-1000mm / 40“, Type-C
Type-C: Large Digital Linear Scale with magnifying glass 0-1000mm / 40“, 0.01mm /.0005”

Type-C: Large Digital Linear Scale with Magnifier with Crosshairs

  • High Accuracy Digital Display: Provides instant and precise readings.
  • Integrated Magnifier with crosshairs: Enhances visibility and reliability for inspection tasks.
  • Measurement Range: Supports up to 0-1000mm, 0-2000mm and 0-3000mm.
1500mm/60” linear scale Zero-point repeatability test

The zero-point repeatability test is typically a good indicator of the overall quality of the digital linear scale.

Zero-point repeatability test involves the digital display component sliding from zero to 1500mm / 60 inches and then returning to zero three times, to ensure that digital readings do not lose any data throughout the entire measurement process.

Large Digital Linear Scale 0-2000mm / 80“ including inspection accessories and 10X LED Scale Loupe

10X LED Light Magnifying Glass with black crosshair and metric scale markings

The 10X LED magnifying glass, together with the Digital Linear Scale, forms a complete inspection device system that can be used to calibrate and inspect measuring tools with markings, such as steel tape measures and so on.

The inspection accessories that come with the digital linrst scale create the necessary conditions for its calibration. Calibration and verification of the digital linear scale can be carried out directly using gauge blocks and the built-in inspection accessories of the digital linear scale.

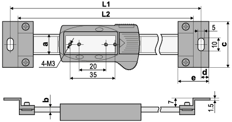
Digital Linear Scale (Horizontal type)
Digital scale units
Linear Scale (Horizontal type) ,resolution 0.01mm /.0005”
Large Digital Linear Scale (Horizontal type) mounting dimension
Digital Linear Scale (Horizontal type) mounting dimension
Large Digital Linear Scale Digital display unit
Range over 500mm is fit for this cover
Future
  • Resolution 0.01mm /.0005”.
  • Screw holes and brackels are available for installing.
  • Zero-sttting at an position, convenient for relative and absolute measure conversion.
  • Data hold (Range ≥ 500mm)
  • Preset an reading at any position (Range ≥ 500mm).
  • mm/inch conversion at an position.
Digital Linear Scale (horizontal type) (mm)
Measuring range Accuracy L1 L2 a b c d e
0-100 ±0.02 206 194 16 4 36 6 24
0-150 ±0.03 256 244 16 4 36 6 24
0-200 ±0.03 306 294 16 4 36 6 24
0-300 ±0.04 436 424 16 4 36 6 24
0-400 ±0.05 536 524 16 4 36 6 24
0-500 ±0.05 670 654 24 5.5 45 8 32
0-600 ±0.08 770 754 24 5.5 45 8 32
0-700 ±0.08 870 854 24 5.5 45 8 32
0-800 ±0.10 970 954 24 5.5 45 8 32
0-900 ±0.10 1070 1054 24 5.5 45 8 32
0-1000 ±0.10 1224 1204 31 10.5 60 10 40
0-1200 ±0.12 1424 1404 31 10.5 60 10 40
0-1500 ±0.14 1724 1704 31 10.5 60 10 40
0-2000 ±0.20 2224 2204 31 10.5 60 10 40
0-2500 ±0.20 2838 2818 42 12.5 60 10 40
0-3000 ±0.30 3338 3318 42 12.5 60 10 40
1500mm/60” digital linear scale calibration
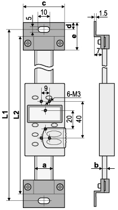
Digital Linear Scale (Vertical type)
Digital scale units
Digital Linear Scale (Vertical type)
resolution 0.01mm /.0005”,lower voltage alam
Digital scale units
Digital Linear Scale (Vertical type) mounting dimension
Future
  • Resolution 0.01mm /.0005”
  • Lower voltage alam
  • Screw holes and brackels are available for installing.
  • Zero-sttting at an position, convenient for relative and absolute measure conversion
  • Data hold
  • Preset an reading at any position
  • mm/inch conversion at an position.
Digital Linear Scale (vertical type) (mm)
Measuring range Accuracy L1 L2 a b c d e
0-100 ±0.02 236 224 20 4 40 6 24
0-150 ±0.03 286 274 20 4 40 6 24
0-200 ±0.03 336 324 20 4 40 6 24
0-300 ±0.04 436 424 20 4 40 6 24
0-400 ±0.05 536 524 20 4 40 6 24
0-500 ±0.05 670 654 24 5.5 45 8 32
0-600 ±0.08 770 754 24 5.5 45 8 32
0-700 ±0.08 870 854 24 5.5 45 8 32
0-800 ±0.10 970 954 24 5.5 45 8 32
0-900 ±0.10 1070 1054 24 5.5 45 8 32
0-1000 ±0.10 1224 1204 31 10.5 60 10 40
0-1200 ±0.12 1424 1404 31 10.5 60 10 40
0-1500 ±0.14 1724 1704 31 10.5 60 10 40
0-2000 ±0.20 2224 2204 31 10.5 60 10 40
0-2500 ±0.20 2838 2818 42 12.5 60 10 40
0-3000 ±0.30 3338 3318 42 12.5 60 10 40

Our clients place bulk orders for large digital linear scales.

LCD Display systems
LCD digital units
  • Easy to connect with a capacitive digital measuring instrument (like digital caliper,digital indicator) to fulfil the remote & bigger display of instrument's measuring value.
  • Functions of zero setting,fast tracing and normal display interchange,Metric/Inch system interchange can be directly operated by pressing function button of LCD Display systems.
  • Displaying value on screen of LCD will be always kept even after the power off.
  • With magnet at its back,it can be placed at a position which is easy for checking.
  • Range to display: +999.99mm / +39" ;
  • Resolution: 0.01mm /0.0005";
  • Length of signal cable: 2.5m.
Scroll TO Top

Contact Us